Как известно, при включении трёхфазного асинхронного двигателя в однофазную сеть, по распространенным конденсаторным схемам: "треугольник", или "звезда", мощность двигателя используется только наполовину (в зависимости от применяемого двигателя).
Кроме того, затруднён запуск двигателя под нагрузкой.
В предлагаемой статье описан метод подключения двигателя без потери мощности.
В различных любительских электромеханических станках и приспособлениях чаще всего используются трехфазные асинхронные двигатели с короткозамкнутым ротором. К сожалению, трехфазная сеть в быту — явление крайне редкое, поэтому для их питания от обычной электрической сети любители применяют фазосдвигающий конденсатор, что не позволяет в полном объеме реализовать мощность и пусковые характеристики двигателя. Существующие же тринисторные "фазосдвигающие" устройства еще в большей степени снижают мощность на валу двигателей.
Вариант схемы устройства запуска трехфазного электродвигателя без потери мощности приведен на рис. 1.
Обмотки двигателя 220/380 В соединены треугольником, а конденсатор С1 включен, как обычно, параллельно одной из них. Конденсатору "помогает" дроссель L1, включенный параллельно другой обмотке. При определенном соотношении емкости конденсатора С1, индуктивности дросселя L1 и мощности нагрузки можно получить сдвиг фаз между напряжениями на трех ветвях нагрузки, равный точно 120°.
На рис. 2 приведена векторная диаграмма напряжений для устройства, представленного на рис. 1, при чисто активной нагрузке R в каждой ветви. Линейный ток Iл в векторном виде равен разности токов Iз и Ia, а по абсолютному значению соответствует величине Iф√3, где Iф=I1=I2=I3=Uл/R — фазный ток нагрузки, Uл=U1=U2=U3=220 В — линейное напряжение сети.
К конденсатору С1 приложено напряжение Uc1=U2, ток через него равен Ic1 и по фазе опережает напряжение на 90°.
Аналогично к дросселю L1 приложено напряжение UL1=U3, ток через него IL1 отстает от напряжения на 90°.
При равенстве абсолютных величин токов Ic1 и IL1 их векторная разность при правильном выборе емкости и индуктивности может быть равной Iл.
Сдвиг фаз между токами Ic1 и IL1 составляет 60°, поэтому треугольник из векторов Iл, Iс1 и IL1 — равносторонний, а их абсолютная величина составляет Iс1=IL1=Iл=Iф√3. В свою очередь, фазный ток нагрузки Iф=Р/ЗUL, где Р — суммарная мощность нагрузки.
Иными словами, если емкость конденсатора С1 и индуктивность дросселя L1 выбрать такими, чтобы при поступлении на них напряжения 220 В ток через них был бы равен Ic1=IL1=P/(√3⋅Uл)=P/380, показанная на рис. 1 цепь L1C1 обеспечит на нагрузке трехфазное напряжение с точным соблюдением сдвига фаз.
Таблица 1
| P, Вт | IC1=IL1, A | C1, мкФ | L1, Гн |
|---|---|---|---|
| 100 | 0.26 | 3.8 | 2.66 |
| 200 | 0.53 | 7.6 | 1.33 |
| 300 | 0.79 | 11.4 | 0.89 |
| 400 | 1.05 | 15.2 | 0.67 |
| 500 | 1.32 | 19.0 | 0.53 |
| 600 | 1.58 | 22.9 | 0.44 |
| 700 | 1.84 | 26.7 | 0.38 |
| 800 | 2.11 | 30.5 | 0.33 |
| 900 | 2.37 | 34.3 | 0.30 |
| 1000 | 2.63 | 38.1 | 0.27 |
| 1100 | 2.89 | 41.9 | 0.24 |
| 1200 | 3.16 | 45.7 | 0.22 |
| 1300 | 3.42 | 49.5 | 0.20 |
| 1400 | 3.68 | 53.3 | 0.19 |
| 1500 | 3.95 | 57.1 | 0.18 |
В табл. 1 приведены значения тока Ic1=IL1. емкости конденсатора С1 и индуктивности дросселя L1 для различных величин полной мощности чисто активной нагрузки.
Реальная нагрузка в виде электродвигателя имеет значительную индуктивную составляющую. В результате линейный ток отстает по фазе от тока активной нагрузки на некоторый угол ф порядка 20...40°.
На шильдиках электродвигателей обычно указывают не угол, а его косинус — широко известный cosφ, равный отношению активной составляющей линейного тока к его полному значению.
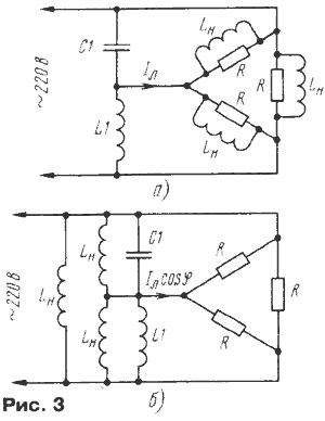
Индуктивную составляющую тока, протекающего через нагрузку устройства, показанного на рис. 1, можно представить в виде токов, проходящих через некоторые катушки индуктивности Lн, подключенные параллельно активным сопротивлениям нагрузки (рис. 3,а), или, что эквивалентно, параллельно С1, L1 и сетевым проводам.
Из рис. 3,б видно, что поскольку ток через индуктивность противофазен току через емкость, катушки индуктивности LH уменьшают ток через емкостную ветвь фазосдвигающей цепи и увеличивают через индуктивную. Поэтому для сохранения фазы напряжения на выходе фазосдвигающей цепи ток через конденсатор С1 необходимо увеличить и через катушку уменьшить
Векторная диаграмма для нагрузки с индуктивной составляющей усложняется. Ее фрагмент, позволяющий произвести необходимые расчеты, приведен на рис. 4.
Полный линейный ток Iл разложен здесь на две составляющие: активную Iлcosφ и реактивную Iлsinφ.
В результате решения системы уравнений для определения необходимых значений токов через конденсатор С1 и катушку L1:
IC1sin30° + IL1sin30° = Iлcosφ, IC1cos30° - IL1cos30° = Iлsinφ, 
получаем следующие значения этих токов:
IC1 = 2/√3⋅Iлsin(φ+60°), IL1 = 2/√3⋅Iлcos(φ+30°).
При чисто активной нагрузке (φ=0) формулы дают ранее полученный результат Ic1=IL1=Iл.
На рис. 5 приведены зависимости отношений токов Ic1 и IL1 к Iл от cosφ, рассчитанные по этим формулам Для (cosφ = √3/2 = 0,87) ток конденсатора С1 максимален и равен 2/√3Iл = 1.15Iл, а ток дросселя L1 вдвое меньше.
Этими же соотношениями с хорошей степенью точности можно пользоваться для типовых значений cosφ, равных 0,85...0,9.
Таблица 2
| P, Вт | IC1, A | IL1, A | C1, мкФ | L1, Гн |
|---|---|---|---|---|
| 100 | 0.35 | 0.18 | 5.1 | 3.99 |
| 200 | 0.70 | 0.35 | 10.2 | 2.00 |
| 300 | 1.05 | 0.53 | 15.2 | 1.33 |
| 400 | 1.40 | 0.70 | 20.3 | 1.00 |
| 500 | 1.75 | 0.88 | 25.4 | 0.80 |
| 600 | 2.11 | 1.05 | 30.5 | 0.67 |
| 700 | 2.46 | 1.23 | 35.6 | 0.57 |
| 800 | 2.81 | 1.40 | 40.6 | 0.50 |
| 900 | 3.16 | 1.58 | 45.7 | 0.44 |
| 1000 | 3.51 | 1.75 | 50.8 | 0.40 |
| 1100 | 3.86 | 1.93 | 55.9 | 0.36 |
| 1200 | 4.21 | 2.11 | 61.0 | 0.33 |
| 1300 | 4.56 | 2.28 | 66.0 | 0.31 |
| 1400 | 4.91 | 2.46 | 71.1 | 0.29 |
| 1500 | 5.26 | 2.63 | 76.2 | 0.27 |
В табл. 2 приведены значения токов IC1, IL1, протекающих через конденсатор С1 и дроссель L1 при различных величинах полной мощности нагрузки, имеющей указанное выше значение cosφ = √3/2.
Для такой фазосдвигающей цепи используют конденсаторы МБГО, МБГП, МБГТ, К42-4 на рабочее напряжение не менее 600 В или МБГЧ, К42-19 на напряжение не менее 250 В.
Дроссель проще всего изготовить из трансформатора питания стержневой конструкции от старого лампового телевизора. Ток холостого хода первичной обмотки такого трансформатора при напряжении 220 В обычно не превышает 100 мА и имеет нелинейную зависимость от приложенного напряжения.
Если же в магнитопровод ввести зазор порядка 0,2...1 мм, ток существенно возрастет, а зависимость его от напряжения станет линейной.
Сетевые обмотки трансформаторов ТС могут быть соединены так, что номинальное напряжение на них составит 220 В (перемычка между выводами 2 и 2'), 237 В (перемычка между выводами 2 и 3') или 254 В (перемычка между выводами 3 и 3'). Сетевое напряжение чаще всего подают на выводы 1 и 1'. В зависимости от вида соединения меняются индуктивность и ток обмотки.
В табл. 3 приведены значения тока в первичной обмотке трансформатора ТС-200-2 при подаче на нее напряжения 220 В при различных зазорах в магнитопроводе и разном включении секций обмоток.
Сопоставление данных табл. 3 и 2 позволяет сделать вывод, что указанный трансформатор можно установить в фазосдвигающую цепь двигателя с мощностью примерно от 300 до 800 Вт и, подбирая зазор и схему включения обмоток, получить необходимую величину тока.
Индуктивность изменяется также в зависимости от синфазного или противофазного соединения сетевой и низковольтных (например, накальных) обмоток трансформатора.
Максимальный ток может несколько превышать номинальный ток в рабочем режиме. В этом случае для облегчения теплового режима целесообразно снять с трансформатора все вторичные обмотки, часть низковольтных обмоток можно использовать для питания цепей автоматики устройства, в котором работает электродвигатель.
Таблица 3
| Зазор в магнитопроводе, мм |
Ток в сетевой обмотке, A, при соединении выводов на напряжение, В |
||
|---|---|---|---|
| 220 | 237 | 254 | |
| 0.2 | 0.63 | 0.54 | 0.46 |
| 0.5 | 1.26 | 1.06 | 0.93 |
| 1 | - | 2.05 | 1.75 |
В табл. 4 приведены номинальные величины токов первичных обмоток трансформаторов различных телевизоров и ориентировочные значения мощности двигателя, с которыми их целесообразно использовать фазосдвигающую LC-цепь следует рассчитывать для максимально возможной нагрузки электродвигателя.
Таблица 4
| Трансформатор | Номинальный ток, A |
Мощность двигателя, Вт |
|---|---|---|
| ТС-360М | 1.8 | 600...1500 |
| ТС-330К-1 | 1.6 | 500...1350 |
| СТ-320 | 1.6 | 500...1350 |
| СТ-310 | 1.5 | 470...1250 |
| ТСА-270-1, ТСА-270-2, ТСА-270-3 |
1.25 | 400...1250 |
| ТС-250, ТС-250-1, ТС-250-2, ТС-250-2М, ТС-250-2П |
1.1 | 350...900 |
| ТС-200К | 1 | 330...850 |
| ТС-200-2 | 0.95 | 300...800 |
| ТС-180, ТС-180-2, ТС-180-4, ТС-180-2В |
0.87 | 275...700 |
При меньшей нагрузке необходимый сдвиг фаз уже не будет выдерживаться, но пусковые характеристики по сравнению с использованием одного конденсатора улучшатся.
Экспериментальная проверка проводилась как с чисто активной нагрузкой, так и с электродвигателем.
Функции активной нагрузки выполняли по две параллельно соединенных лампы накаливания мощностью 60 и 75 Вт, включенные в каждую нагрузочную цепь устройства (см рис. 1), что соответствовало общей мощности 400 Вт В соответствии с табл. 1 емкость конденсатора С1 составляла 15 мкф Зазор в магнитопроводе трансформатора ТС-200-2 (0,5 мм) и схема соединения обмоток (на 237 В) были выбраны из соображений обеспечения необходимого тока 1,05 А.
Измеренные на нагрузочных цепях напряжения U1, U2, U3 отличались друг от друга на 2...3 В, что подтверждало высокую симметрию трехфазного напряжения.
Эксперименты проводились также с трехфазным асинхронным двигателем с короткозамкнутым ротором АОЛ22-43Ф мощностью 400 Вт. Он работал с конденсатором С1 емкостью 20 мкф (кстати, такой же, как и при работе двигателя только с одним фазосдвигающим конденсатором) и с трансформатором, зазор и соединение обмоток которого выбраны из условия получения тока 0,7 А.
В результате удалось быстро запустить двигатель без пускового конденсатора и заметно увеличить крутящий момент, ощущаемый при торможении шкива на валу двигателя.
К сожалению, провести более объективную проверку затруднительно, поскольку в любительских условиях практически невозможно обеспечить нормированную механическую нагрузку на двигатель.
Следует помнить, что фазосдвигающая цепь — это последовательный колебательный контур, настроенный на частоту 50 Гц (для варианта чисто активной нагрузки), и без нагрузки подключать к сети эту цепь нельзя.
bongrif.ru

















На счет асинхроников существуют Ротовертеры схемы и чертежи уже можно найти в инете
Это установки которые делают из осинхроников потребляют меньше энергии и мощности чем производят
Вечный двигатель? Ну-ну флаг вам в руки :-))))
Однако, весьма умный и "подкованный" в вопросах Теории и математики, человек написал. Разжевал досконально! Браво!
Расскажите, пожалуйста, маэстро, какие параметры электрической "пары" - конденсатор/пусковой конденсатор/дроссель - нужно применить, чтобы обеспечить корректный "пуск" асинхронного электродвигателя 3 кВт под-нагрузкой?
Данный движок устанавливается на самодельный "подъёмный кран" 4 метра высотой, для подъёма бетонных столбов "еврозабора", с предельной массой 150 кг нагрузки на тросу подключаемой ручной лебёдки?
Продаются ли такие дросселя в строительных магазинах и как разобраться в нужном номинале для покупки на данную мощность?
Очень прошу помочь в этом вопросе!
Подключите двигатель через частотный преобразователь и будет вам счастье
Интересно, какой же КПД будет такого двигателя.Есть ли возможность посчитать мощность, потребляемую из сети при включении такого фазосдвигающего устройства.Разделив механическую мощность,отдаваемую двигателем к електрической мощности, потребляемую из сети расщепителем и двигателем вместе, найдем КПД.Есть ли смысл всех этих мучений
По моим подсчетам для двигателя 4кВт, 1410об/мин в ветвях расщепителя (емкости и индуктивности) протекать должен ток 17,9А и 8,2А. Я не электрик, но грубо умножив это значение на 220В получим около 3,9кВт и 1,8кВт что вместе составляет больше 4 квт. КПД такой машини будет наже меньше 0. Если может автор или КТО-НИБУДЬ опровергнуть это указав на взаимную компенсацию емкостной и индуктивной нагрузки, рад буду прочитать.
Ваша проблема в том, что вы считаете в категориях активной нагрузки без учёта углов сдвига фаз токов. В самой статье, в общем-то, всё уже расписано.
Вам, пожалуй, следует начать с ТОЭ. А уж если "попрёт", можно будет углубиться.
Кроме того,в изначальной статье в корне неверно показана схема замещения "индуктивности". Т.к. активное сопротивление и индуктивность всегда включены последовательно, но никак не параллельно!
В самом начале написано, что номиналы подбираются под нагрузку в том числе.
Что очень сильно сужает сферу применения.
Куда вы это запихнете?
В нождак который крутит сам себя, или вы будете давить с точным усилием? Парень писал про тельфер, ну или как он сказал лифт, под'емник, который он ровно по весам будет 150 кг накладывать?
А при иной нагрузке потеря мощности, КПД снижается, тепло идёт в мотор и его греет.
Мне как-то говорили ещё лет 20 назад, что существуют простые схемы с лучшим КПД, но при известной нагрузки. Ну ребят, глупости всё это, в быту практически не применимо.
Допустим даже ну ладно,возьмём холодильник, компрессор, вроде бы типа одинакового прокачивать хладагент, и то думаю и в нем нагрузка меняется от температуры .
По идее где-то есть моторы что нагрузка всегда одинакова, но как-то трудно отыскать.
Правильней назвать эти схемы " C низкой потерей мощности." .Иначе какой то perpetuum mobile получается